紅外線一氧化碳CO氣體分析儀
- 品牌:SINZEN(新澤儀器)
- 型號:S2000型
- 廠家:山東新澤儀器有限公司
一、S2000型一氧化碳分析儀產品簡介
S2000型CO分(fen)析儀(yi),該儀(yi)器(qi)屬(shu)于不分(fen)光式紅(hong)外(wai)線(xian)氣體(ti)分(fen)析器(qi),其工(gong)作原理是(shi)基于某些氣體(ti)對紅(hong)外(wai)線(xian)的選擇(ze)性(xing)吸收。儀(yi)器(qi)采用單光源、單管隔(ge)半氣室及先(xian)進(jin)的檢測器(qi),工(gong)藝精湛、分(fen)析精度(du)高、穩定性(xing)好。采用先(xian)進(jin)的數字處(chu)理技術(shu),全新(xin)的液晶顯示(shi)畫面。

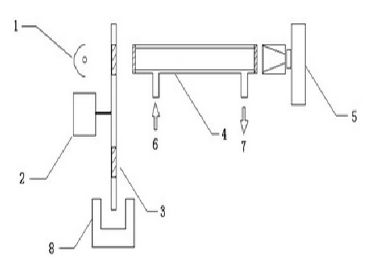
CO紅(hong)外線(xian)氣體分析儀原理圖
1.紅外光源 2.調制馬達 3.濾光片(pian) 4.分析氣室 5.紅外探測器 6.進(jin)氣口 7.出氣口 8.相位檢測器
二、S2000一氧化碳分析儀用途及應用范圍
S2000紅外線氣體(ti)分析(xi)器(qi)用于連續分析(xi)CO、一(yi)種(zhong)(zhong)氣體(ti)在多種(zhong)(zhong)氣體(ti)混合物中的含(han)量(liang)。
產品應用領域廣泛(fan):
1.用于大氣及污染(ran)源排放(fang)等環保監測(ce)
2.用于石油、化(hua)工、電站等工業(ye)過程控制
3.用(yong)于農(nong)業、醫療衛生和科研(yan)等領域
4.實驗室各種燃(ran)燒試驗的氣體含量測(ce)定
5.用于公共場所的空氣監測
三、S2000一氧化碳分析儀特點
1.標準19機(ji)箱(xiang),能安裝在成套設備中(zhong)
2.大屏幕LCD顯示,全中文菜單操(cao)作(zuo),且有操(cao)作(zuo)提(ti)示功能,操(cao)作(zuo)簡單、高效
3.手(shou)動(dong)(dong)/自動(dong)(dong)零(ling)/終點校準、
4.全(quan)數(shu)字化(hua)處(chu)理(li),更加準確穩定(ding)可(ke)靠
5.標準RS232數字通訊功能,可(ke)直接(jie)與電(dian)腦或(huo)DCS連(lian)接(jie)
6.輸(shu)出為同(tong)步(bu)、隔離的(0/2/4-20)mA及(0/0.5/1-5)V信號可選,默認(ren)為(4-20)mA和(1-5)V,電(dian)流輸(shu)出負載400兆(zhao)歐;,電(dian)壓輸(shu)出負載250兆(zhao)歐;
7.具有完(wan)全(quan)隔離的校準、故障(zhang)、報警、的輸出(chu)信號
四、S2000一氧化碳分析儀主要技術數據
1.測量范圍:CO:最小(xiao)量程(cheng):0~2000(ppm);最大(da)量程(cheng)0~100%;
2.精 度:≤2%F.S.;
3.穩(wen) 定 性:零點漂(piao)移:≤1%F.S./7d;
4.量程漂移:≤1%F.S./7d;
5.樣氣(qi)壓力(li):0.1Mpa,入口(kou)壓力(li)0.25Mpa;
6.輸出信(xin)號:4-20mA或(huo)0-10mA DC可選;
7.觸點容(rong)量:120VAC,1A 24VDC,1A;
8.工作(zuo)電(dian)源:220V±10%,50Hz±5%;
9.工作環(huan)境:溫度:-5℃~+45℃;
10.濕 度(du):≤90%RH;
11.重 量:約6.5kg。
- 紅外線氣體分析儀2023-04-26
- 紅外線一氧化碳CO氣體分析儀2023-04-26
- 二氧化碳CO2紅外分析儀2023-04-26
- 多組份氣體分析儀2023-04-26
- 薄膜微音紅外線氣體分析儀2023-04-26
- 紅外線防爆氣體分析儀2023-04-26
- 煤氣/天然氣在線熱值分析儀2023-04-26
- 煙氣排放連續監測系統2023-05-06
- 抽取式超低粉塵儀2023-05-06
- 氨逃逸在線監測設備2023-05-06
- 環境空氣非甲烷總烴連續監測系統2023-05-06
- 污染源VOCs監測系統2023-05-06
- 二氧化碳(CO2)排放連續監測系統2023-05-06
- 廢氣非甲烷總烴在線監測系統2022-04-06
- 冶金行業在線氣體分析系統2023-05-06
- 乙炔中氧氣含量分析系統2023-05-06
- 防爆型煙氣連續排放監測系統2023-05-06


當前位置:

需求溝通傾聽客戶需求,了解用戶使用環境和現場工況
方案設計根據現場實際工況,針對性出具解決方案
合同簽訂技術和商務規范確認,簽訂合作協議
產品制作選擇最優質的元器件,嚴格按照技術協議
調試安裝現場規范安裝,靜態動態調試,分析儀運行
售后服務后續維護,持續跟進,終身維修


咨詢熱線