ZAJ型磁氧分析儀
- 品牌:富士電機
- 型號:ZAJ型
- 廠家:日本富士
磁氧分析儀ZAJ型
一(yi)、產品簡(jian)介
快(kuai)速響應、配(pei)備通信(xin)功能(neng)

1. 富士電機ZAJ型磁氧分析儀使用說明書(中文)
2. 磁氧分析儀(壓力檢測型)是利用氧的磁性,將氧氣濃度轉換成壓力,以測量被測氣體中的氧含量的。
3. O2、NO、NO2為明顯的強正磁性體,會受到磁場的強力吸引。其他的氣體是弱反磁性體。可燃氣體中含有的極少量的NO、NO2,可以忽略不計,因此可以利用這種性質來測量各種氣體中O2的含有量。
4. 本分(fen)析儀的測(ce)量(liang)方式是對被測(ce)氣(qi)體(ti)中所含氧濃度(du)與輔(fu)助氣(qi)體(ti)中所含氧濃度(du)的差進行檢測(ce),因(yin)此必須配備輔(fu)助氣(qi)體(ti)瓶。
二、規(gui)格
適(shi)用(yong)范圍 | 生產過程、防止公(gong)害 | |
測量組分 | O2 | 0~2……100% |
O2 | 100~98……0% | |
顯示 | 在液晶顯示屏上能以人機對話方式進行操作。 | |
干涉影響(xiang) | 其它氣體(ti)的干涉影響少 | |
重復性 | ±0.5% FS | |
響應速度 | 2秒/90% | |
通信(xin)功能 | 支持(RS-232C) | |
外形尺寸 | 機柜安裝(zhuang)型 220×483×463mm | |
重量 | 約16kg | |
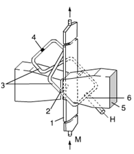
三、ZAJ型磁氧(yang)分析儀測量原理圖:

圖-1 檢測部簡圖
M:被(bei)測氣體(ti) H:輔助氣體(ti) 1:測量(liang)室 2:毛(mao)細管 3:輔助氣體(ti)系(xi)統 4:微流量(liang)檢測器(qi) 5:極片(pian)(磁極) 6:節流器(qi)
氧(yang)分子在不均勻磁(ci)場中(zhong)收到來(lai)自強磁(ci)場方向的(de)力。從宏觀來(lai)看,該力產生了(le)壓(ya)(ya)力。該壓(ya)(ya)力在微流量(liang)檢測(ce)器中(zhong)轉(zhuan)換為電氣(qi)信號(hao)并(bing)放大。
此時,為(wei)了使該壓(ya)力(li)有效地轉化為(wei)電氣(qi)信號(hao),需要有輔(fu)助氣(qi)體(ti)(ti)從外部流入。輔(fu)助氣(qi)體(ti)(ti)通常為(wei)N2氣(qi)體(ti)(ti),在差動(dong)型(xing)(抑制)時,則需要具(ju)有差動(dong)基準氧氣(qi)濃度的N2氣(qi)體(ti)(ti)。
由于(yu)輔助(zhu)(zhu)氣體(ti)(ti)從圖-1中5的(de)磁極流向(xiang)測(ce)量(liang)(liang)室,磁極部的(de)輔助(zhu)(zhu)氣體(ti)(ti)管路收(shou)到N2反磁性(xing)的(de)壓力,流出部受到O2正磁性(xing)壓力,由于(yu)O2的(de)壓力更大,因此(ci)(ci)壓力被施(shi)加與輔助(zhu)(zhu)氣體(ti)(ti)管路。另一側對(dui)稱的(de)排出口(kou)處(chu)于(yu)無磁場的(de)位置,因此(ci)(ci)圖中3輔助(zhu)(zhu)氣體(ti)(ti)系統的(de)管路中產生輔助(zhu)(zhu)氣體(ti)(ti)流,這種(zhong)氣體(ti)(ti)的(de)微(wei)流量(liang)(liang)被檢測(ce)器(qi)轉(zhuan)化為(wei)了信號。
由(you)于該(gai)壓力與被測氣(qi)體(ti)(ti)中的氧濃度(du)和輔助氣(qi)體(ti)(ti)中的氧濃度(du)(通常氧濃度(du)為0的N2)之差成正比,因此能夠測量氧濃度(du)。
由(you)于磁(ci)(ci)極間產(chan)生的磁(ci)(ci)場是(shi)不連(lian)續(xu)磁(ci)(ci)場,因此(ci)微(wei)流量為脈動型(xing),電(dian)氣信(xin)號(hao)為交流型(xing)。
由(you)于測(ce)量室體積(ji)小,且微流量檢(jian)測(ce)器相應速度快,本儀表有(you)較高(gao)的響應速度。
另(ling)外(wai),由于磁力(li)產生(sheng)的微流(liu)量不受(shou)被測氣體(ti)(ti)熱傳導率、粘度、以(yi)及熱容量的影響,因此其(qi)他氣體(ti)(ti)的干擾(rao)影響很小。
- ZAF型熱導式氣體分析儀2016-04-07
- CEMS煙氣ZPB型紅外氣體分析儀2016-04-07
- 熱處理爐用ZFG型紅外氣體分析儀2016-04-07
- ZFK8/ZKM型直插式氧化鋯分析儀2016-04-07
- ZFKE/ZKME型耐壓防爆型氧化鋯分析儀2016-04-07
- ZSS型激光式氣體分析儀2016-04-07
- ZKJ型紅外氣體分析儀2016-04-07
- ZRJ型紅外氣體分析儀2016-04-07
- ZPG型紅外氣體分析儀2016-04-07
- ZAJ型磁氧分析儀2016-04-07
- 煙氣排放連續監測系統2023-05-06
- 抽取式超低粉塵儀2023-05-06
- 氨逃逸在線監測設備2023-05-06
- 環境空氣非甲烷總烴連續監測系統2023-05-06
- 污染源VOCs監測系統2023-05-06
- 二氧化碳(CO2)排放連續監測系統2023-05-06
- 廢氣非甲烷總烴在線監測系統2022-04-06
- 冶金行業在線氣體分析系統2023-05-06
- 乙炔中氧氣含量分析系統2023-05-06
- 防爆型煙氣連續排放監測系統2023-05-06


當前位置:
需求溝通傾聽客戶需求,了解用戶使用環境和現場工況
方案設計根據現場實際工況,針對性出具解決方案
合同簽訂技術和商務規范確認,簽訂合作協議
產品制作選擇最優質的元器件,嚴格按照技術協議
調試安裝現場規范安裝,靜態動態調試,分析儀運行
售后服務后續維護,持續跟進,終身維修


咨詢熱線